《湿法冶金》
书《巨峰科技-半导体工艺》
湿法处理基板文章设备与系统装置
No. JFKJ-21-350
作者巨峰科技
摘要
?公开了一种湿法处理基板的装置及系统,可用于半导体基板的蚀刻或清洗等化学处理。该设备具有处理室,在该处理室中对基板进行湿处理。处理液通过开口和喷嘴注入处理室。基板漂浮在注入的液体中并通过注入的液体流围绕其中心轴旋转。湿法处理系统由上述处理设备、通过水流输送基材的载水系统和旋转干燥机组成。含水系统也用作洗涤设备。

湿加工设备
背景发明内容
1.技术领域
本发明涉及一种用于湿法处理的设备或系统,特别是用于半导体器件制造中基板的清洁或蚀刻工艺。本发明提供一种用于一个接一个地连续处理基板的设备和系统。
2.现有技术描述
在半导体制造中,有许多湿法工艺,例如基板清洗和蚀刻。对于此类工艺,已使用批量工艺,其中将多个基板放置在桶中并在篮子中蚀刻,或者将基板放置在架子上并浸入蚀刻剂中。在这种批处理过程中很难精确控制蚀刻,因为桶中的蚀刻剂被水代替,或者当支架从蚀刻剂中取出并浸入水中时,基板的蚀刻仍在继续。此外,当基板从蚀刻剂中提起时,蚀刻剂会从基板的一侧滴落,因此难以对表面进行均匀处理。
发明内容
本发明的主要目的在于提供一种能够连续处理基板的湿法处理装置。
本发明的另一目的在于提供一种能够同时处理基板的两面的湿式处理装置。
本发明的另一个目的是提高待加工基板表面湿法加工的精度和均匀性,提高成品率。
本发明的另一个目的是提供一种系统fbr湿法处理,它可以一个接一个地连续处理基板。
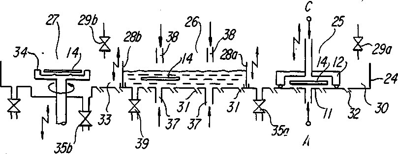
本发明的上述目的是通过提供一种用液体流处理基板以进行湿法处理的装置来实现的。基板沿着处理液流向下流动,并被处理液的射流旋转。将处理液倾倒或喷洒在基材表面,使基材两面得到均匀处理。
处理完成后,将处理液切换为纯水。底物通过水流作为运输系统一个接一个地运输。当基材沿着水输送器或水接收器行进时,基材被喷洒在其上的水洗涤和清洁。
?
水轴承末端有回转式干燥机。基材位于旋转干燥器的卡盘上。定位基材后,百叶窗关闭,旋转干燥器与洗涤区分离。然后将旋转干燥机中的水从干燥机的卡盘中抽出,固定基材并开始旋转。因此,基板很快干燥。